Couldn't load pickup availability
Over 50 years in the industry, demonstrating reliability.
Serving customers across all 50 states.
Products designed for heavy-duty use.
30 Days Return Policy*
Trusted By
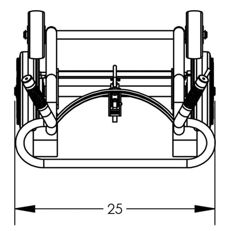
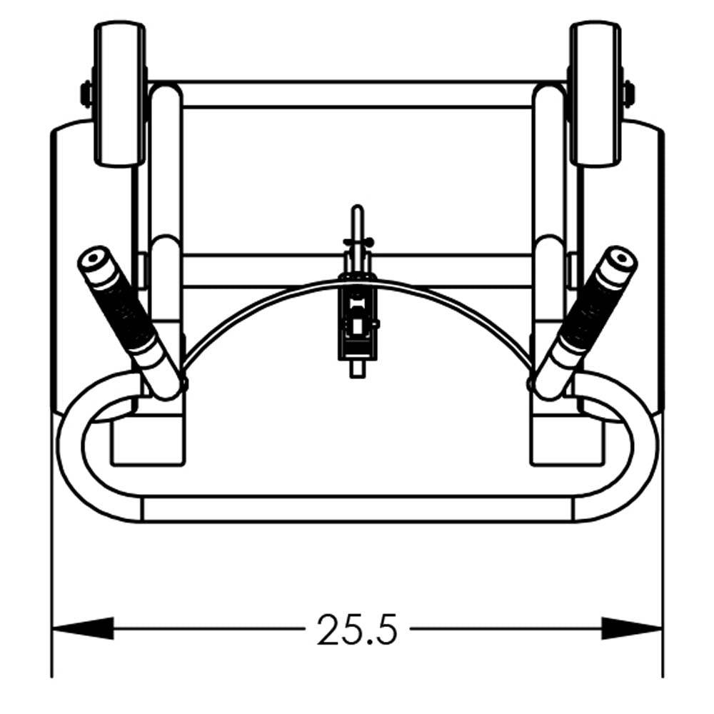
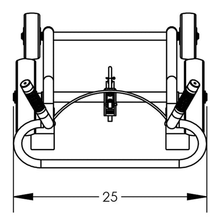
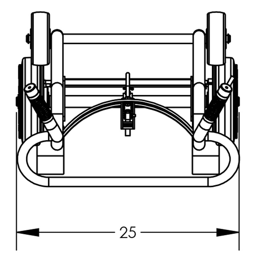
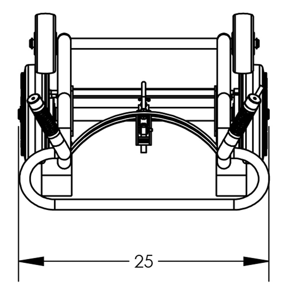
Valley Craft Aluminum 4-Wheel Drum Hand Trucks
Valley Craft's Drum Hand Trucks are the perfect solution for transporting drums or barrels throughout facilities or on the go. The heavy-duty construction has continuous solid welds for superior durability. Drum trucks have a 1,000 lb. load capacity and are easily maneuvered using the rubber grip twin handles or the full loop handle. The hand brake gives the operator added control of heavy loads and on uneven surfaces (on select models). Efficiently load, transport, and store various drums with ease.
This hand truck is available in a steel or aluminum frame. Heavy 14 gauge steel frames can handle the toughest, most rigorous use and environments. Aluminum frames are lightweight making them easier to maneuver, and are spark resistant which is required for certain environments. 2 or 4-wheel options are available in pneumatic, solid rubber, or mold-on rubber. (2) 12" pneumatic wheels make handling heavy loads or maneuvering over various terrain simple. The (2) 10" solid rubber wheels provide premium durability and simplified handling of heavy loads. (2) 10" mold-on rubber wheels are recommended for flat indoor environments and are maintenance-free. 4-wheel models include the additional (2) 6" rear poly wheels for improved stability and control. 1" steel axles are fully enclosed in a protective housing with sealed bearings to improve the durability, functionality, and longevity of your unit.
All models come with the standard chime hook unless otherwise specified. The standard universal chime hook utilizes a safe, hands-free, spring-loaded hook that automatically connects with the drum. Additional chime hooks are available (sold separately). The cable hoop adds an additional cable to the standard chime hook for additional security. The plastic drum chime hook drops over bung hole projection, specific to plastic drums only. The fiber drum chime hook reaches an additional 1" specific to fiber drums only. The locking cover chime hook handles all drum styles with a locking cover.
Valley Craft's Drum Hand Trucks are fully welded and built to withstand a variety of environments and elements. Products are shipped fully assembled, ready to use, and made in the U.S.A.
- Efficiently transport drums and barrels throughout your facility or on the go.
- Variety of configurations to fit your needs.
- Adjustable feet allow you to handle both 30 and 55-gallon drums.
- Hand brake gives operators added control and safety (select models).
- Ergonomic design with rubber grip twin handles and full loop handle.
- Built-in rechargeable 18 AH battery with monitor display.
- Hand brake provides added control and safety.
- Ergonomic design with rubber grip twin handles and full loop handle.
- Heavy-duty steel construction with solid welds.
- Premium powder coat paint finish.
- Ships fully assembled, ready to use.
- Made in the U.S.A.
| SKU | Wheels | Hand Brake | Size(W x D x H) | Weight |
| F82960A1 | Pneumatic | Yes | 26" x 21" x 59" | 55 lbs. |
| F82960A1C | Pneumatic | Yes | 26" x 21" x 59" | 55 lbs. |
| F82960A1F | Pneumatic | Yes | 26" x 21" x 59" | 55 lbs. |
| F82960A1L | Pneumatic | Yes | 26" x 21" x 59" | 55 lbs. |
| F82960A1P | Pneumatic | Yes | 26" x 21" x 59" | 55 lbs. |
| F83210A7 | Solid Rubber | Yes | 25" x 20" x 59" | 55 lbs. |
| F83210A7C | Solid Rubber | Yes | 25" x 20" x 59" | 55 lbs. |
| F83210A7F | Solid Rubber | Yes | 25" x 20" x 59" | 55 lbs. |
| F83210A7L | Solid Rubber | Yes | 25" x 20" x 59" | 55 lbs. |
| F83210A7P | Solid Rubber | Yes | 25" x 20" x 59" | 55 lbs. |
| F82175A2 | Pneumatic | No | 26" x 21" x 59" | 50 lbs. |
| F82175A2C | Pneumatic | No | 26" x 21" x 59" | 50 lbs. |
| F82175A2F | Pneumatic | No | 26" x 21" x 59" | 50 lbs. |
| F82175A2L | Pneumatic | No | 26" x 21" x 59" | 50 lbs. |
| F82175A2P | Pneumatic | No | 26" x 21" x 59" | 50 lbs. |
| F82425A0 | Solid Rubber | No | 25" x 21" x 59" | 50 lbs. |
| F82425A0C | Solid Rubber | No | 25" x 21" x 59" | 50 lbs. |
| F82425A0F | Solid Rubber | No | 25" x 21" x 59" | 50 lbs. |
| F82425A0L | Solid Rubber | No | 25" x 21" x 59" | 50 lbs. |
| F82425A0P | Solid Rubber | No | 25" x 21" x 59" | 50 lbs. |
| F82645A4 | Mold-On Rubber | No | 25" x 20" x 59" | 50 lbs. |
| F82645A4C | Mold-On Rubber | No | 25" x 20" x 59" | 50 lbs. |
| F82645A4F | Mold-On Rubber | No | 25" x 20" x 59" | 50 lbs. |
| F82645A4L | Mold-On Rubber | No | 25" x 20" x 59" | 50 lbs. |
| F82645A4P | Mold-On Rubber | No | 25" x 20" x 59" | 50 lbs. |
Return Policy
You can return unused or defective products up to 30 days from the date of order. Some product returns may be subject to restocking fees. Proof of Purchase will be required if we cannot verify your order information. Unless the product is defective or damaged in transit, the customer is responsible for return shipment costs.
Defective or Damaged Products
All shipments received must be immediately inspected for damage. If your order shipped on a freight carrier, any damage needs to be noted on the Freight Receipt before signing for the delivery. An exchange or refund will be provided at no additional cost. If damage is due to misuse or regular wear of the product, the return will be denied.
Order Cancellation
If you need to cancel your order for any reason, please contact us immediately. If the order is canceled prior to shipping, you will be refunded in full. Certain products that are manufactured to order cannot be canceled after the manufacturing process has started.
